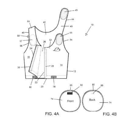
Only U.S. Patented Multi-Use with additional features, aka clinical value, Medebra Mastectomy Bra Kit (US. Patent 8,696,403) MULTI-USE no other product capable of (CPT code L-8000, HCPCS code L-8015 diagnosis code C50.919) includes all the features needed post breast surgery and the only adjustable strap to offer extra needed length and releasable strap design as a resource for the segment of the patients with chest catheters and ports. The strap design does not dig into the patient port, offers a padded area over by providing protection, cutting back on infections which can lead to readmissions causing charge backs to the hospital, eliminates belts, camisoles and all other support garments, soft Velcro is tool and die cut providing precise sizing and comfort, Kit includes set of prosthetics/pillow, adjustable, to be used post surgery.
No others design for multi-use replacing large cardio thoracic pillows, by placing inside front of garment cutting back on infections as there is less chance of picking up germs from falling on the floor, also placed to control pain, the only endorsed blend of material to absorb moisture and flush fluids properly. The only pocket designed to hold all other prosthetics post healing, set of easily removed drain pouches.

